南京市栖霞区人民政府
栖霞区
用户中心
|
智能问答
|
繁体阅读
|
无障碍阅读
IPV6
官网微信
“我的栖霞”
搜索
热搜词:
优化营商环境
失业保险金申领
首页
政府信息公开
政务服务
政民互动
上善栖霞
数据发布
当前位置:
首页
>
栖霞区人民政府
>
栖霞区卫生健康委员会
索 引 号:
013033899/2024-31868
主题分类:
卫健、妇女儿童、体育
组配分类:
医疗机构不良执业行为
体裁分类:
公告
发布机构:
栖霞区卫生健康委员会
生成日期:
2024-04-16
生效日期:
废止日期:
信息名称:
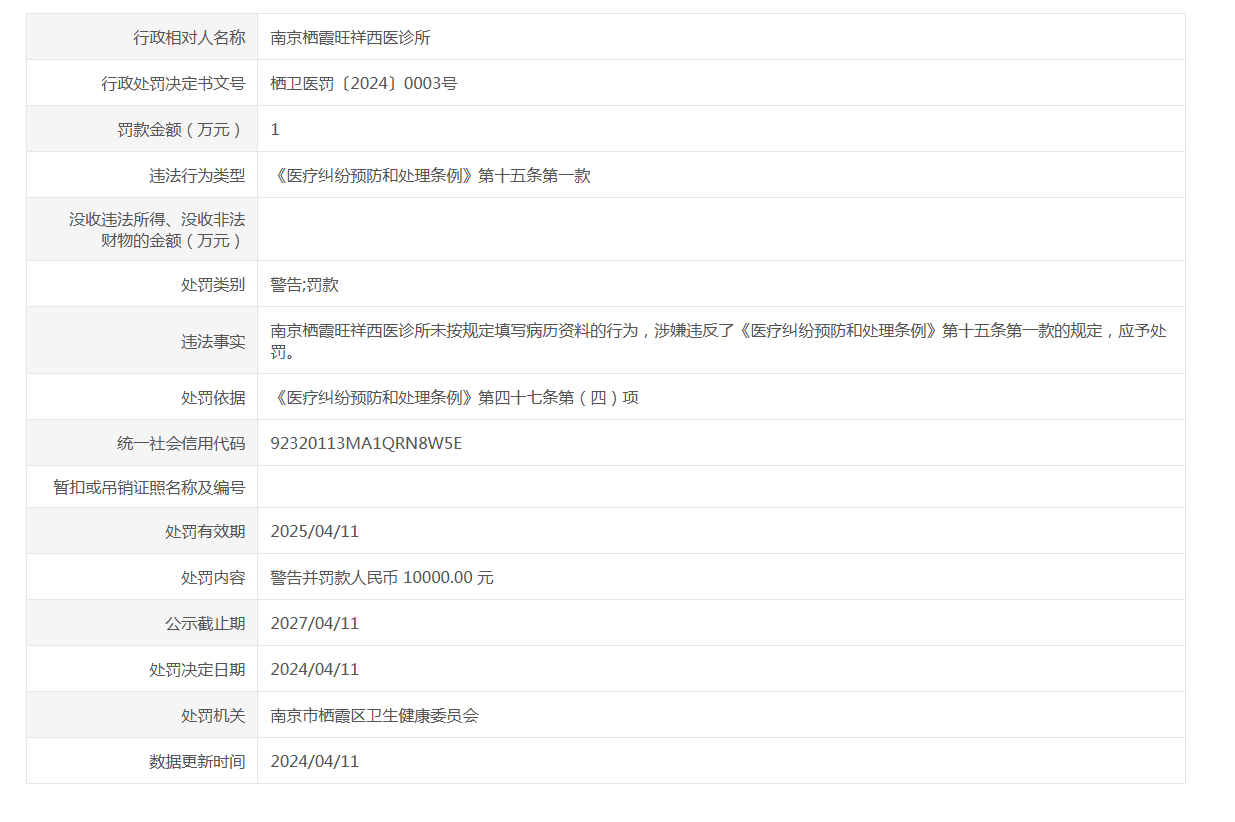
医疗机构不良执业行为公示(栖卫医罚〔2024〕0003号)
文 号:
关 键 词:
公告
内容概览:
在线链接地址:
文件下载:
医疗机构不良执业行为公示(栖卫医罚〔2024〕0003号)
【打印此页】
【关闭窗口】